・
企業と取引する上で、コンプライアンスチェックは欠かせない作業です。
しかし、取引企業が多い場合、その作業を自動化できると便利ではないでしょうか?
そこで本記事では、Google スプレッドシートとRoboRoboの連携で、企業のコンプライアンスチェックを自動化する方法を解説します。
特に、ビジネスのスピードが求められる現代においてこの連携は大きなメリットをもたらすでしょう。
手動での確認作業では、入力ミスやチェック漏れが発生しやすく、特に大量の企業情報を処理する際にリスクが高まります。
しかし、このフローでは、Google スプレッドシートに追加された情報をRoboRoboが自動で検証し、その結果を反映するため人的ミスを最小限に抑えられます。
さらに、事前に設定された基準で処理が行われるため、すべての情報が統一されたルールで評価され情報の一貫性が保たれます。
結果として、企業情報の正確性が確保され、信頼性の高いデータに基づいた意思決定が可能となることが期待できます。
また、大量のデータ処理が必要な場合や短時間での対応が求められる状況でも、高い精度と効率で業務を進めることが見込めます。
このフローを利用することで、RoboRoboが実施したコンプライアンスチェックの結果が自動的にGoogle スプレッドシートへ反映されます。
これにより、常に最新の情報を基にした意思決定が可能となるでしょう。
特に、刻一刻と変化する市場や規制に対して対応する必要がある業務において、スピーディーな情報更新は欠かせない要素です。
また、情報が自動更新されることで、手動入力による遅延を防ぎ、全体の業務効率の向上が期待できます。
正確な情報を素早く共有することで、これまで以上にスムーズな意思決定や業務遂行につながりそうです。
ここまで、Google スプレッドシートとRoboRoboの連携によるメリットを紹介してきました。
それでは早速、今回使用するアプリをYoomを使って連携していきましょう!
マイアプリ登録が完了したら、「Google スプレッドシートで企業情報が追加されたらRoboRoboでコンプライアンスチェックを行い、結果をGoogle スプレッドシートに反映する」フローボットを作成していきます。
[Yoomとは]
■概要
Google スプレッドシートで企業情報が追加されたら自動でRoboRoboコンプライアンスチェックを行い、結果をGoogle スプレッドシートに反映するフローです。
■このテンプレートをおすすめする方
1.Google スプレッドシートを業務に活用している方
・取引先情報の蓄積を行う方
・取引先企業のコンプライアンスチェックの結果を企業情報と一緒に管理している方
2.RoboRoboコンプライアンスチェックを使用している方
・取引開始前にコンプライアンスチェックを行う方
■このテンプレートを使うメリット
RoboRoboコンプライアンスチェックは取引予定企業のコンプライアンスチェックを行うことで、リスクを回避することができるツールです。
Google スプレッドシートに企業情報とコンプライアンスチェックの結果を蓄積することで、情報の一元管理を行います。
しかし、Google スプレッドシートに企業情報が追加さえるたびに手動でRoboRoboコンプライアンスチェックを行い、結果を反映させるのは時間も手間がかかります。
このフローを活用すると、Google スプレッドシートに追加された企業を自動でRoboRoboコンプライアンスチェックを行い、結果を取得反映します。
手作業を省くことで人的ミスを回避し、正確性の高い情報の共有につなげます。
また結果を自動で取得することで取引を円滑にスタートすることができ、業務進行をスムーズにします。
■注意事項
・Google スプレッドシート、RoboRoboコンプライアンスチェックのそれぞれとYoomを連携してください。
・トリガーは5分、10分、15分、30分、60分の間隔で起動間隔を選択できます。
・プランによって最短の起動間隔が異なりますので、ご注意ください。
今回は、以下のステップです。
一緒に設定していきましょう!
マイアプリ連携を先にしておくと、後の設定がスムーズに進みます。
まず、利用しているGoogle スプレッドシートとYoomを連携していきます。
Yoomページの左側からマイアプリ→新規接続を選択します。

Google スプレッドシートと検索します。
メールアドレスとパスワードでログインしてください。
続いてRoboRoboと検索します。
こちらも表示された項目を入力し、ログインしてください。
Google スプレッドシート・RoboRoboがマイアプリに表示されたらOKです。
今回はこのテンプレートを使用します。
テンプレートページを開き、『このテンプレートを試してみる』をクリックしてください。
Yoomをお使いの方はログインするか、初めての方は会員登録をお願いします。
完了すると、ワークスペースに自動的にテンプレートがコピーされています。
テンプレート名は、必要に応じて変更可能です。
左側のマイプロジェクトをクリックすると先ほどコピーしたテンプレートが表示されます。
右側の三点リーダー(...)をクリックし、編集するを選択しましょう。

検索したい企業の情報が入力されているスプレッドシート。

まず、アプリトリガーを設定していきます。
「行が追加されたら」を選択します。
タイトルは、ご希望のものに変更できます。
連携するアカウント情報の確認をしたら、アクションは変更せず次に進みましょう。
必須項目の設定に入ります。

テーブル範囲はヘッダーも含め、全て入るように設定します。

テストしてアウトプットにGoogle スプレッドシートのレコードが反映したら保存します。
続いて「取引先登録・チェック実行」を選択します。
RoboRoboのアカウント情報を確認しましょう。
必須項目の取引先名はアウトプットから、{{企業名}}を選択します。
その他の項目は必要に応じて設定してください。

こちらもテストして成功となったら保存します。
続いて「待機する」を選択します。
デフォルトで設定されている時間から変更がなければ、保存をクリックします。

続いて「チェック結果を取得」を選択します。
取引先IDはアウトプットから選択します。

その他の項目は選択肢から選択してください。


こちらもテストし、アウトプットに検索結果が表示されたら保存します。
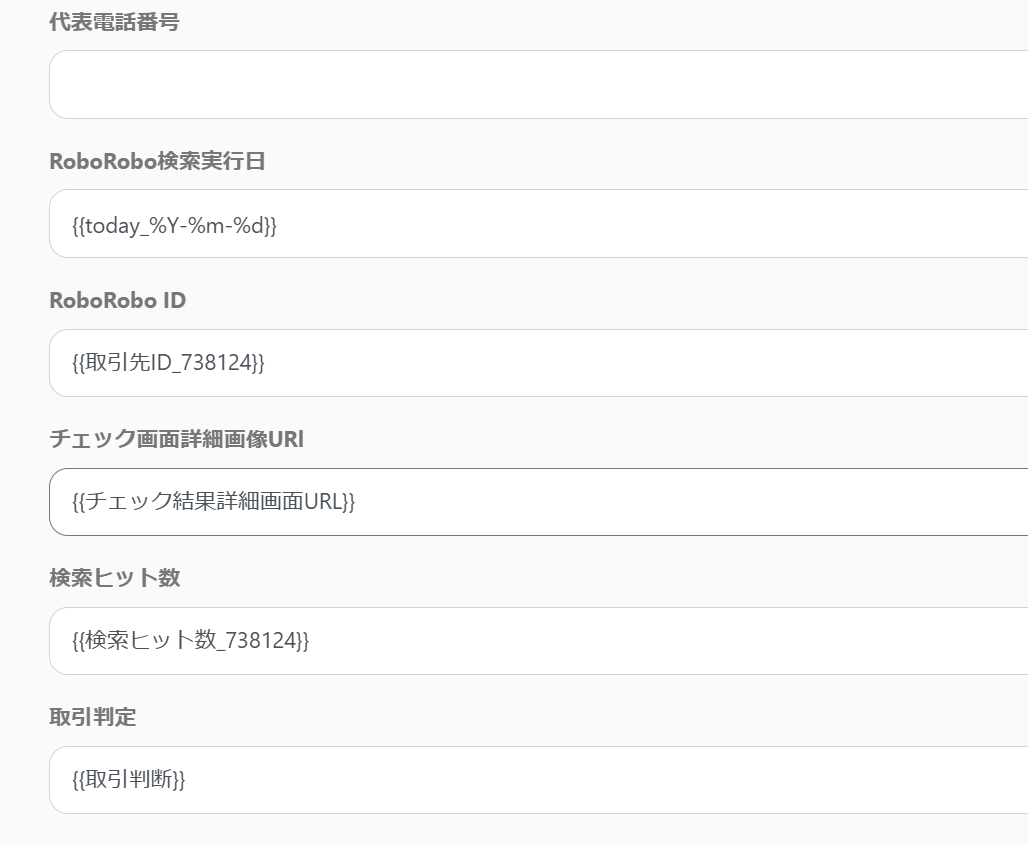
続いて「レコードを更新する」を選択し、データベースの連携をします。

更新したいレコードの検索条件には、取引先名を設定しました。

更新後のレコードの値を設定していきます。
先ほどのようにアウトプットから選択していきます。

RoboRobo検索実行日の欄は、アウトプット欄隣の日付から選択できます。

こちらもテスト→成功したら保存します。
Google スプレッドシート側を見てみましょう。

無事にIDや取引判定などが反映されていますね。
最後にアプリトリガーをオンにして完了です。
ここまでお疲れ様でした。
プログラミングに詳しくない私でも、簡単に進めることができました。
今回使用したフローボットはこちら↓
■概要
Google スプレッドシートで企業情報が追加されたら自動でRoboRoboコンプライアンスチェックを行い、結果をGoogle スプレッドシートに反映するフローです。
■このテンプレートをおすすめする方
1.Google スプレッドシートを業務に活用している方
・取引先情報の蓄積を行う方
・取引先企業のコンプライアンスチェックの結果を企業情報と一緒に管理している方
2.RoboRoboコンプライアンスチェックを使用している方
・取引開始前にコンプライアンスチェックを行う方
■このテンプレートを使うメリット
RoboRoboコンプライアンスチェックは取引予定企業のコンプライアンスチェックを行うことで、リスクを回避することができるツールです。
Google スプレッドシートに企業情報とコンプライアンスチェックの結果を蓄積することで、情報の一元管理を行います。
しかし、Google スプレッドシートに企業情報が追加さえるたびに手動でRoboRoboコンプライアンスチェックを行い、結果を反映させるのは時間も手間がかかります。
このフローを活用すると、Google スプレッドシートに追加された企業を自動でRoboRoboコンプライアンスチェックを行い、結果を取得反映します。
手作業を省くことで人的ミスを回避し、正確性の高い情報の共有につなげます。
また結果を自動で取得することで取引を円滑にスタートすることができ、業務進行をスムーズにします。
■注意事項
・Google スプレッドシート、RoboRoboコンプライアンスチェックのそれぞれとYoomを連携してください。
・トリガーは5分、10分、15分、30分、60分の間隔で起動間隔を選択できます。
・プランによって最短の起動間隔が異なりますので、ご注意ください。
その他にも、YoomにはGoogle スプレッドシートを使ったテンプレートがあるのでご紹介します!
1.Google スプレッドシートで追加された内容をGeminiを使って要約しGoogle スプレッドシートに更新するフローです。
Google スプレッドシートに追加された内容を要約して更新してくれるので、欠席者に議事録を共有するときなど、毎回手動で要約している方に役立ちそうです。
時間と手間が削減できますね。
■概要
Google スプレッドシートで追加された内容をGeminiを使って要約しGoogle スプレッドシートに更新するフローです。
■このテンプレートをおすすめする方
1.Google スプレッドシートを業務で使用する方
・会議内容をGoogle スプレッドシートに蓄積している方
・Google スプレッドシートをチーム間で共有して業務を進めている方
2.業務でGeminiを活用している方
・Geminiを利用して文章の要約をすることが多い方
・会議内容の要約作業に時間がかかっている方
■このテンプレートを使うメリット
Google スプレッドシートはクラウド上でデータを管理できるため、情報共有やデータの蓄積に有効なツールです。
しかし、定期的に開催される会議内容をGoogle スプレッドシートに蓄積した後に、要約してチーム間で情報共有をしている場合、時間がかかり手間だと感じているかもしれません。
このテンプレートは、Google スプレッドシートに行が追加されるとGeminiで要約した結果をGoogle スプレッドシートに更新することができるため、要約作業を効率化できます。
会議内容が多く要約に時間がかかる場合でも、スピーディーに内容の要約が行われるため、業務時間の短縮を図ることが可能です。
また、チャットツールから通知を出すことで、内容の要約結果をチーム間で共有でき、業務をスムーズに進めることができます。
■注意事項
・Google スプレッドシート、GeminiのそれぞれとYoomを連携してください。
・トリガーは5分、10分、15分、30分、60分の間隔で起動間隔を選択できます。
・プランによって最短の起動間隔が異なりますので、ご注意ください。
2.Google スプレッドシートでキーワードが追加されたらRISK EYESで新聞の記事数を取得するフローです。
こちらはRISK EYESを利用している方におすすめです。
記事数の取得からGoogle スプレッドシートの更新まで、一連の流れを自動化できます。
■概要
Google スプレッドシートでキーワードが追加されたらRISK EYESで新聞の記事数を取得するフローです。
■このテンプレートをおすすめする方
1.Google スプレッドシートを使用してデータ分析を行う方
・データ分析を行う、データアナリストの方
・Google スプレッドシートに情報を蓄積している方
2.RISK EYESを業務で使用している方
・リスク情報を監視するリスクマネージャー
・法規制や社内規則の遵守を管理している法務部門の方
■このテンプレートを使うメリット
RISK EYESを使用することで、反社チェックを効率化できるのがメリットです。。
しかし、Google スプレッドシートにRISK EYESでの検索結果を手動でまとめている場合、検索の度に都度情報を追加する必要があるため、手間だと感じているかもしれません。
このテンプレートは、Google スプレッドシートに検索キーワードが追加されると、自動的に新聞の記事数を取得することができます。
検索キーワードに対するボリューム感をスピーディーに把握できるため、リスクの大きさや重要度を直感的に判断することができます。
また、地域や掲載期間の指定をすることで、関連する新聞の記事数を絞り込むことができるため、必要な情報量のみ取得することも可能です。
■注意事項
・Google スプレッドシート、RISK EYESのそれぞれとYoomを連携してください。
3.Google スプレッドシートに追加された内容からOpenAIで画像を生成し、取得したURLをGoogle スプレッドシートに更新するフローです。
広告キャンペーンの画像を自動生成できるだけでなく、URLの転記まで行ってくれます。
Google スプレッドシートに情報を蓄積しておくことで、キャンペーンごとに画像URLの管理ができるようになります。
■概要
Google スプレッドシートに追加された内容からOpenAIで画像を生成し、取得したURLをGoogle スプレッドシートに更新するフローです。
■このテンプレートをおすすめする方
1.Google スプレッドシートを業務で活用している方
・コメント機能でリアルタイムに質疑応答を行うチームリーダー
・外出先でも資料の編集を行う営業担当
2.OpenAIを業務に活用している企業
・広告キャンペーンなイメージ画像を生成してもらうマーケティング部門の担当者
・データの分析に使用している総務担当者
■このテンプレートを使うメリット
Google スプレッドシートは編集内容が即座に反映されるため、最新の情報をチームに共有するツールとして適しています。
しかしGoogle スプレッドシートに追加された内容を、手入力で OpenAIに入力するのは手間がかかり、非効率な働き方を助長する可能性があります。
業務の効率化を目指し、可能な箇所は自動化したいと考える方にこのフローは有効的です。
Google スプレッドシートに内容が追加されたら自動でOpenAIに入力し、画像の生成を行うことで、手入力による手間を省きます。
また登録された内容を引用して使用することで、手作業によるミスをなくします。
■注意事項
・Google スプレッドシート、OpenAIのそれぞれとYoomを連携してください。
今回は「Google スプレッドシートで企業情報が追加されたらRoboRoboでコンプライアンスチェックを行い、結果をGoogle スプレッドシートに反映する」フローボットを紹介しました。
Google スプレッドシートとRoboRoboの連携により、企業はコンプライアンスチェックをスピーディーかつ正確に行うことが可能になります。
この自動化により、手動での確認作業が省けるので、修正作業などのコスト削減にもつながります。
また、常に最新の情報を元にした意思決定が可能となり、ビジネススピードの向上が期待できます。
この記事で紹介した方法を参考に、ぜひGoogle スプレッドシートとRoboRoboの連携を試してみてください。
Yoomの無料登録はこちらからできます。→始める